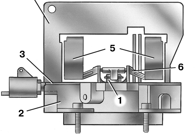
Зимний режим карбюратора