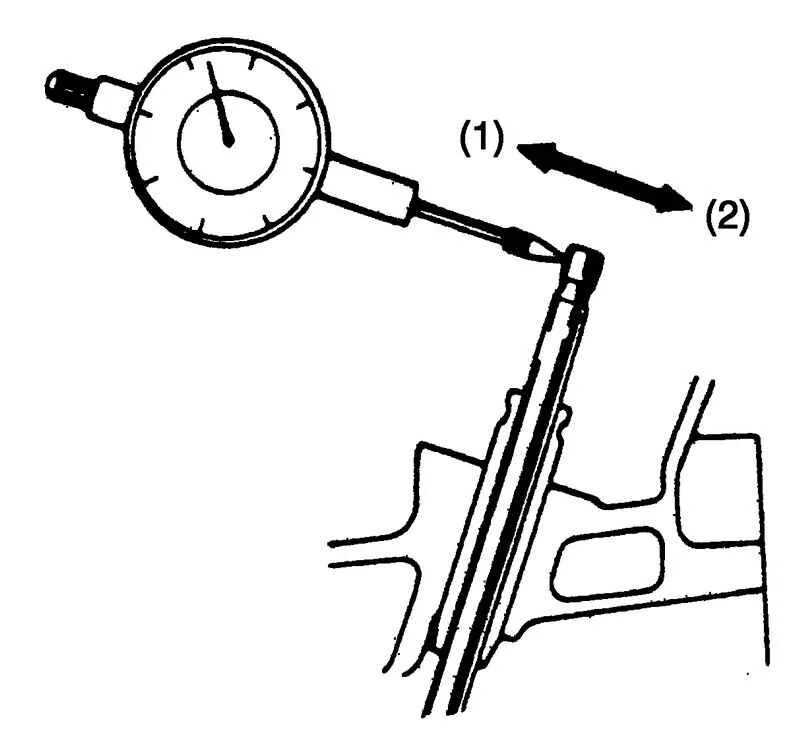
Зазор между втулкой и клапаном