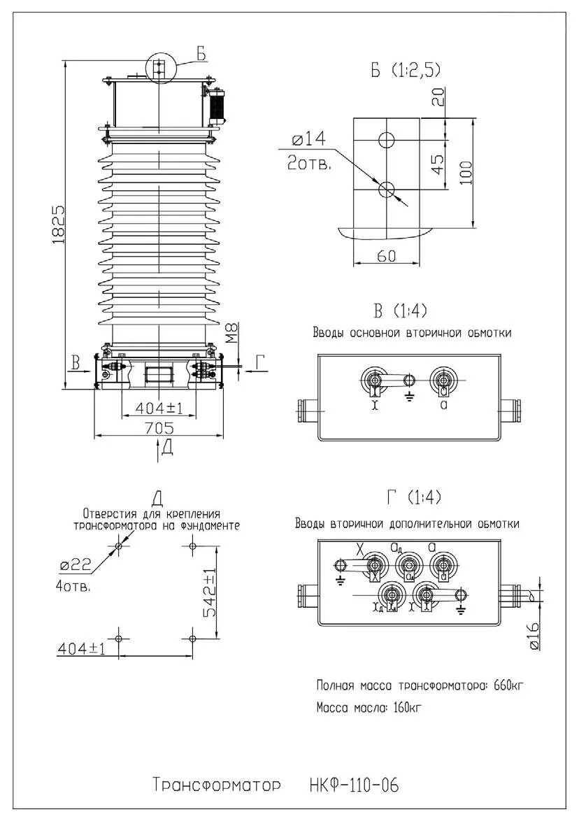
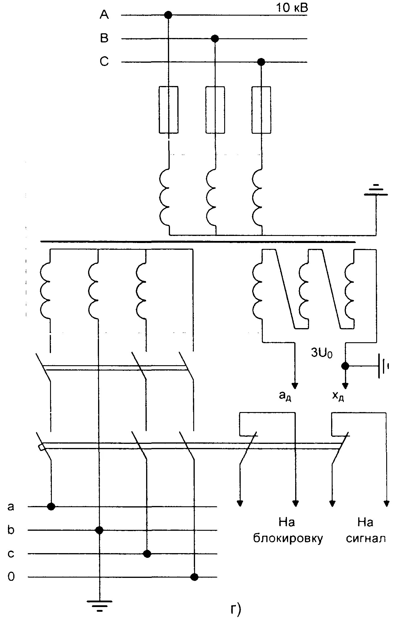
Заземленный трансформатор напряжения