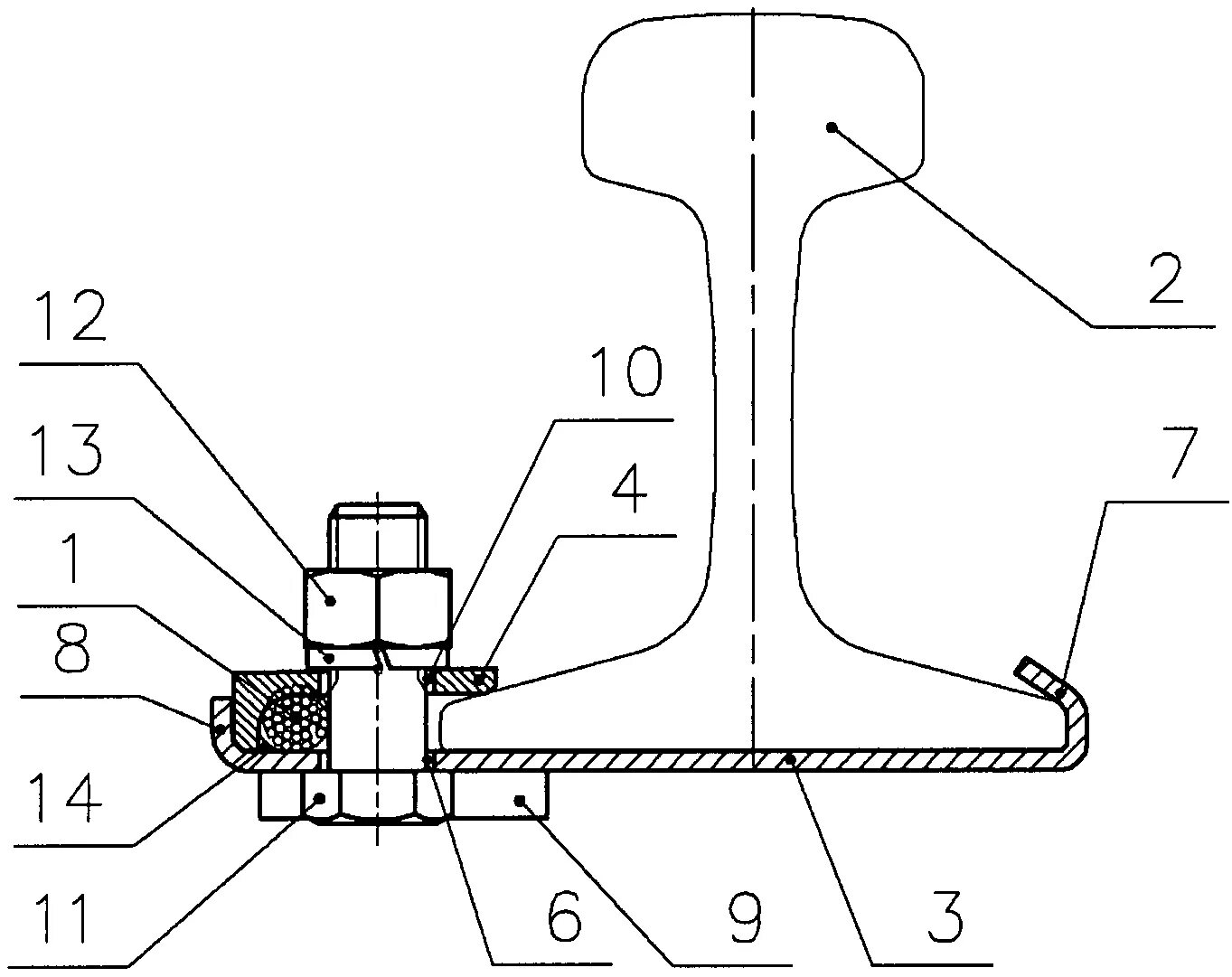
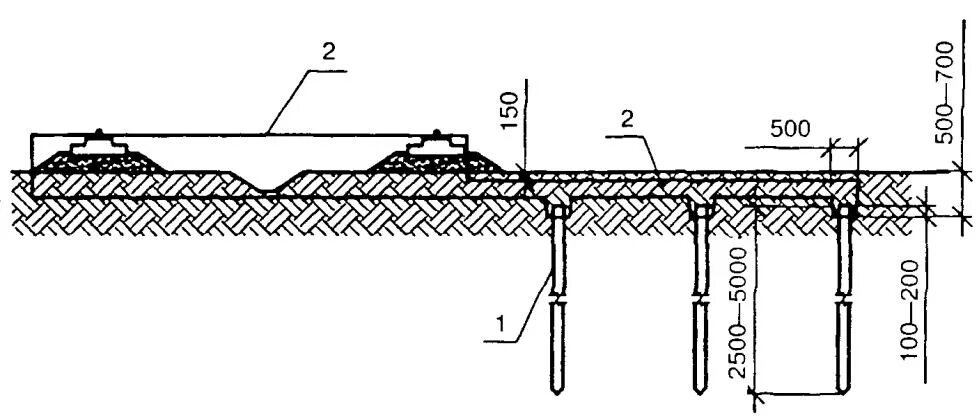
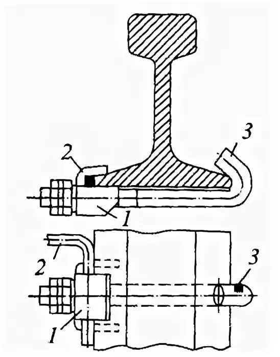
Заземление на рельс