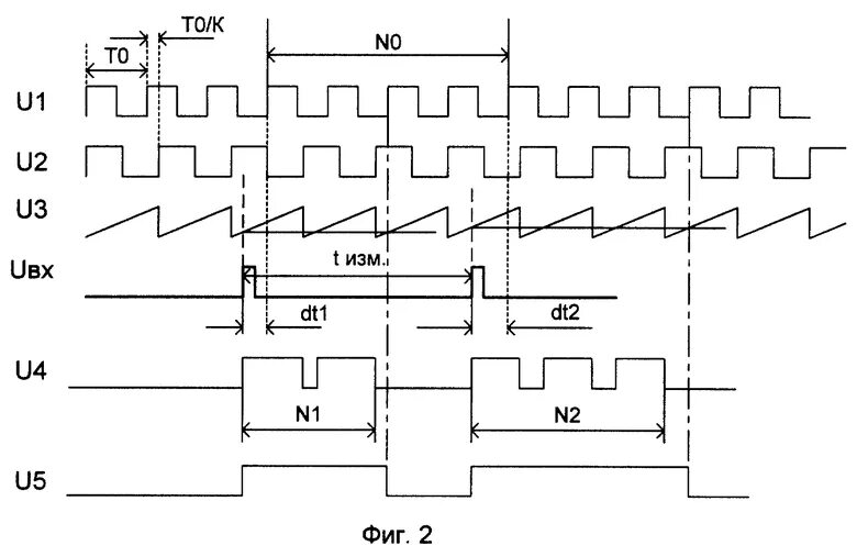
Временные интервалы c