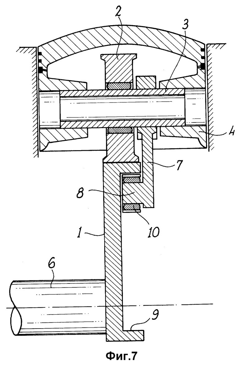
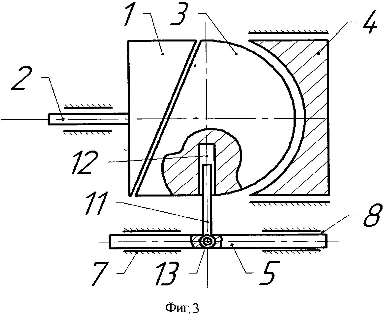
Возвратно поступательное движение совершает