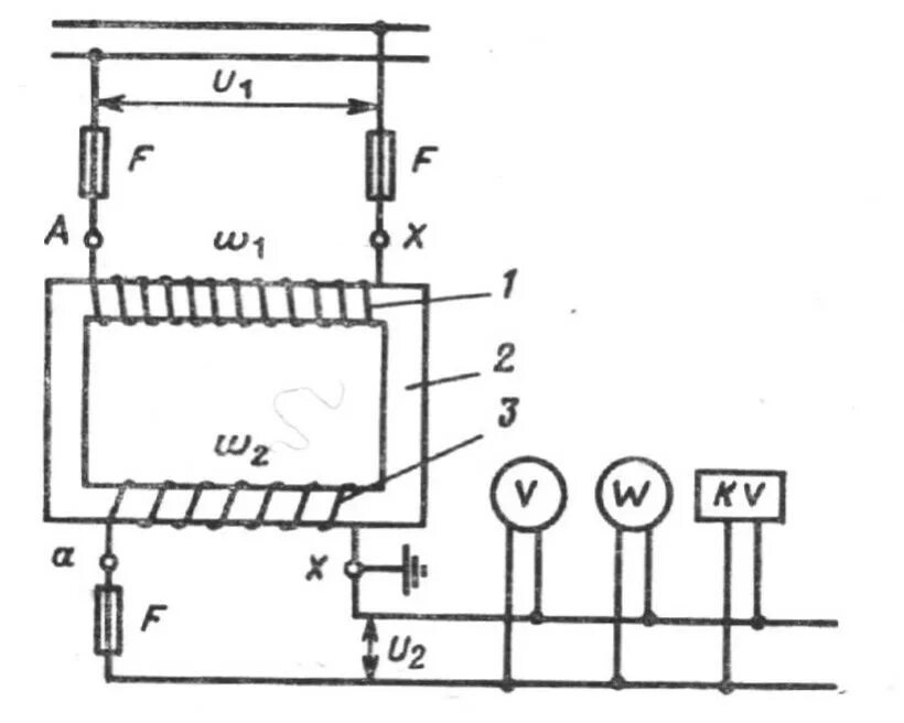
Включение трансформаторов в сеть