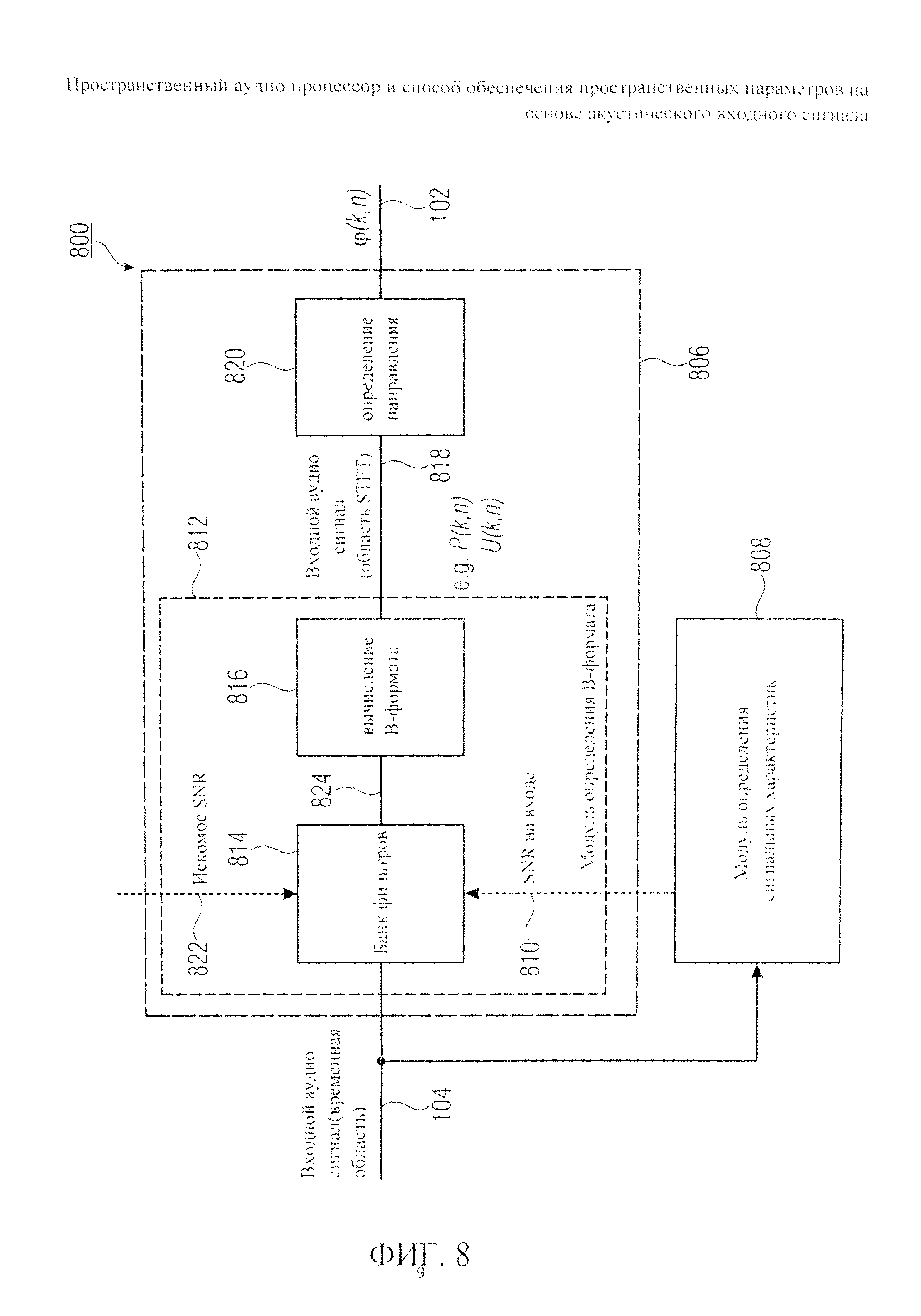
Входной уровень сигнала