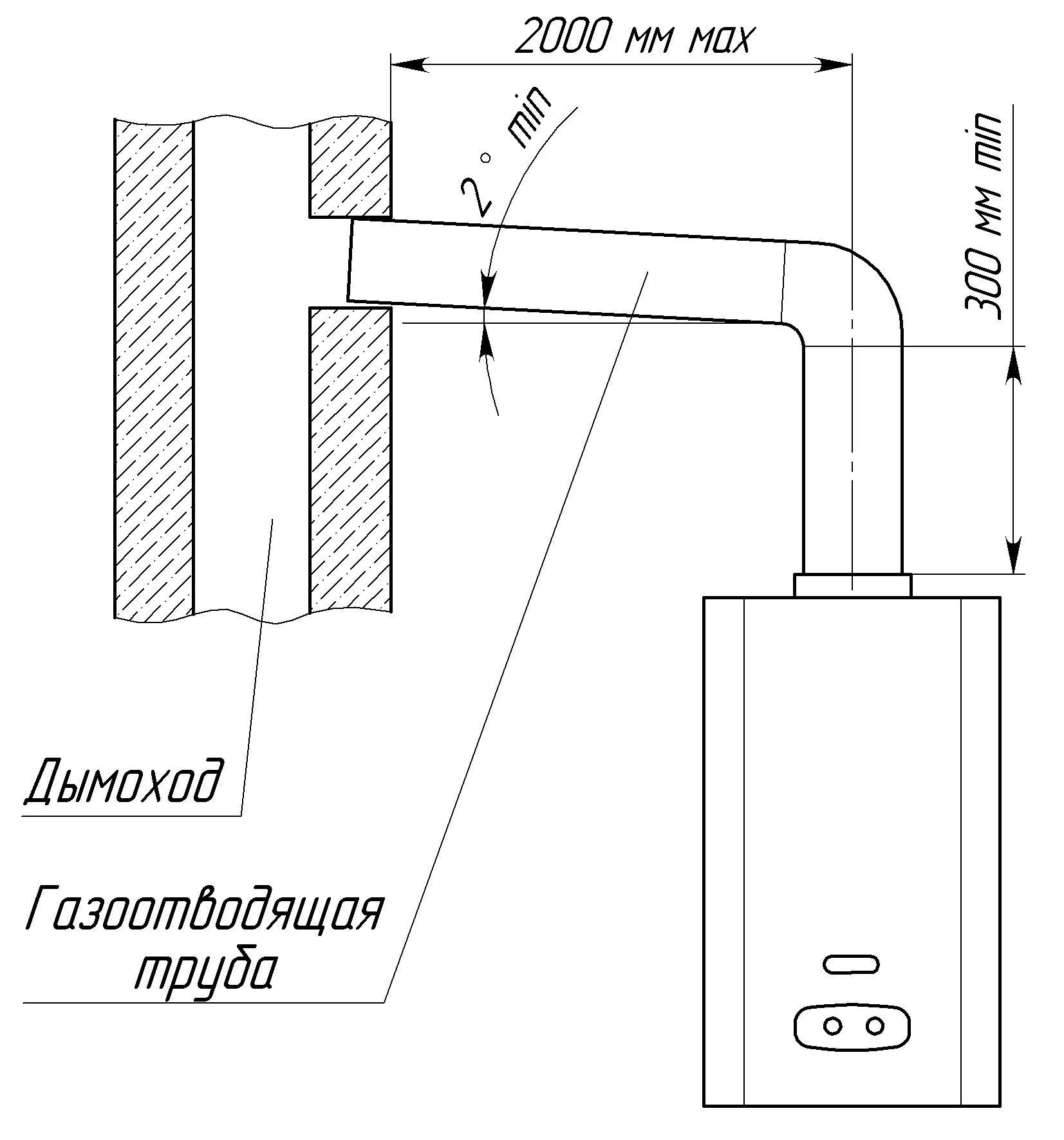
Установка коаксиального котла в частном доме