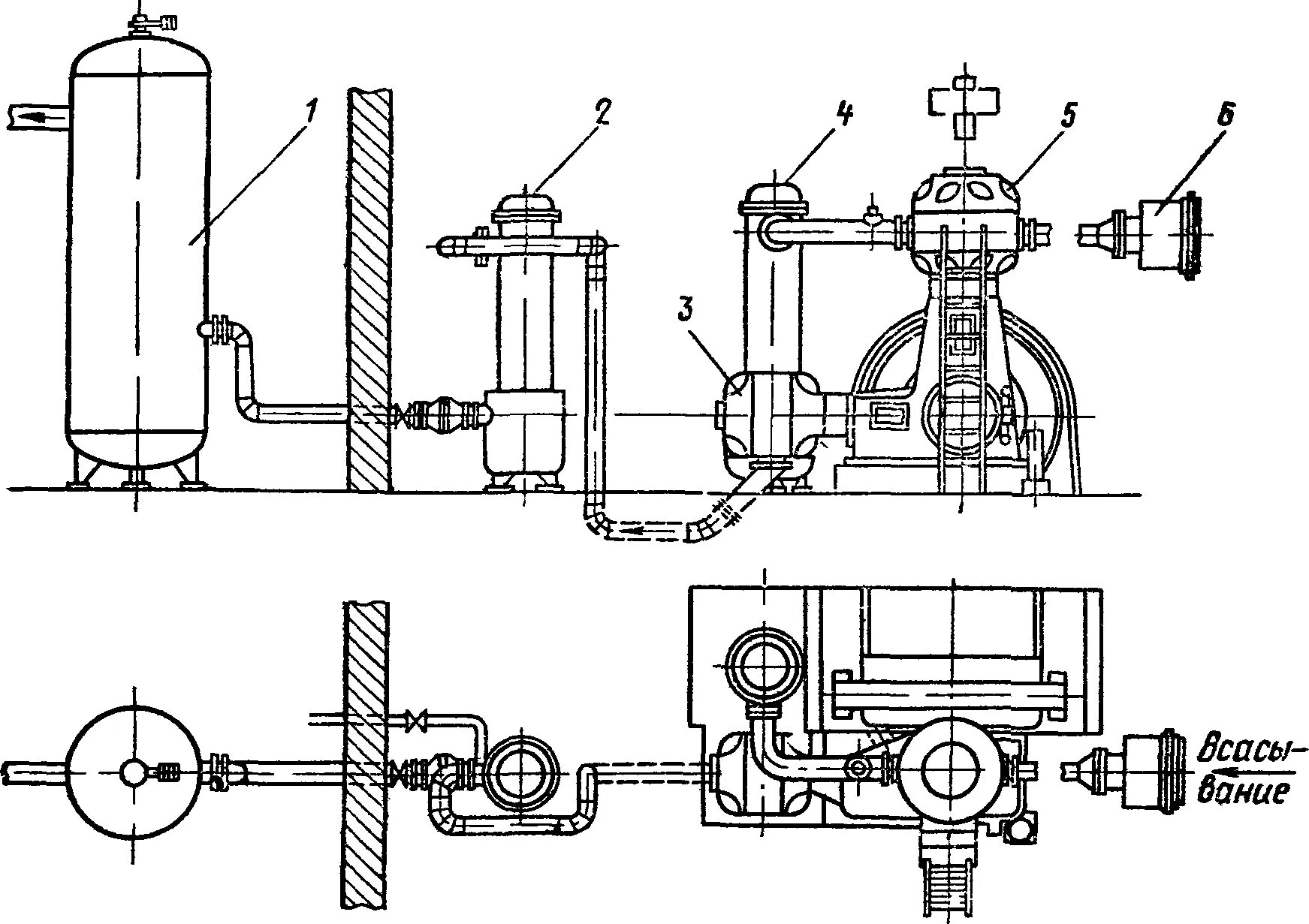
Установка к