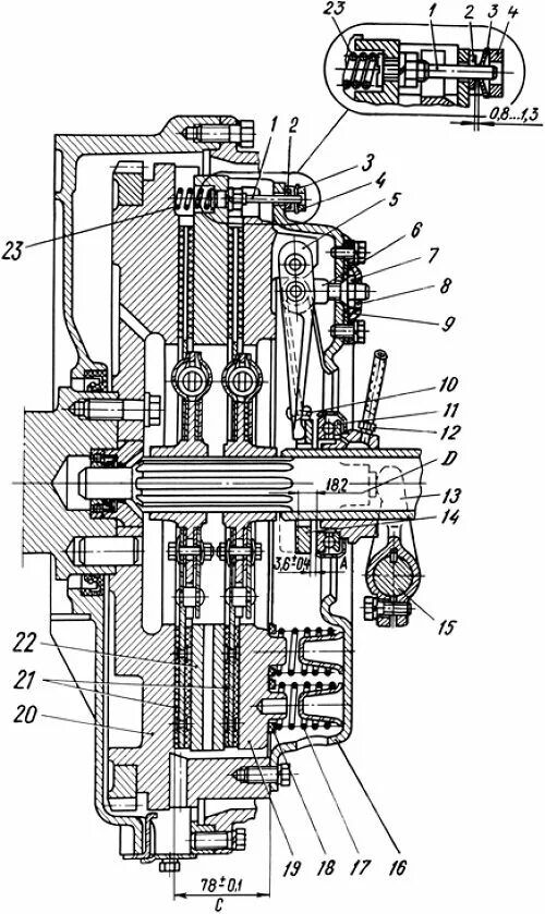
Установка двухдискового сцепления ямз