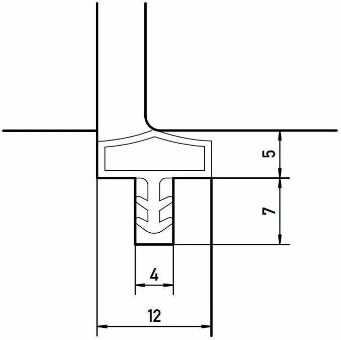
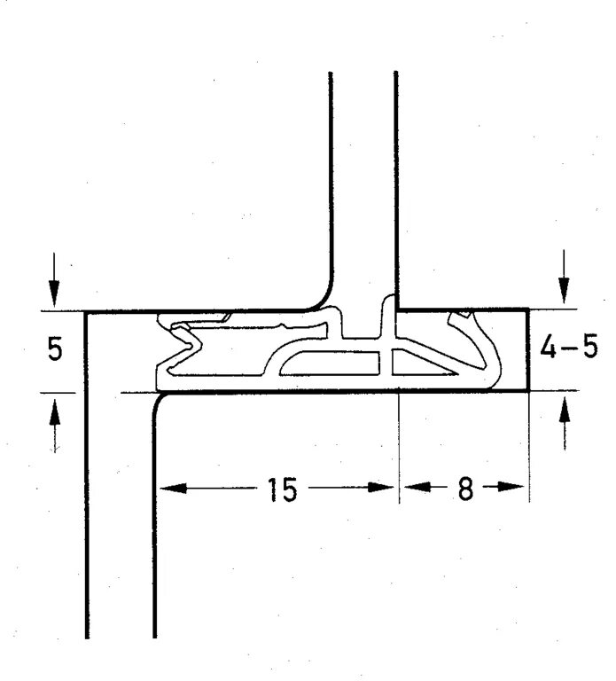
Уплотнитель двери deventer