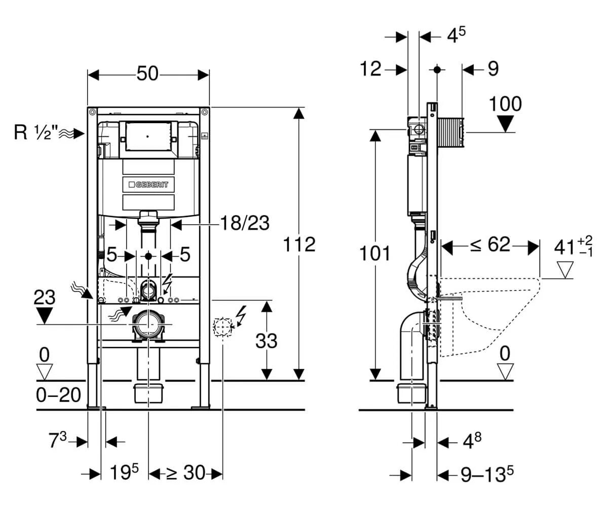
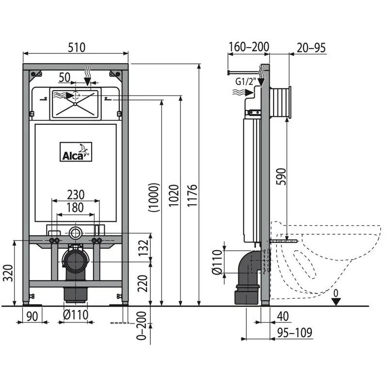
Унитазы под инсталляцию