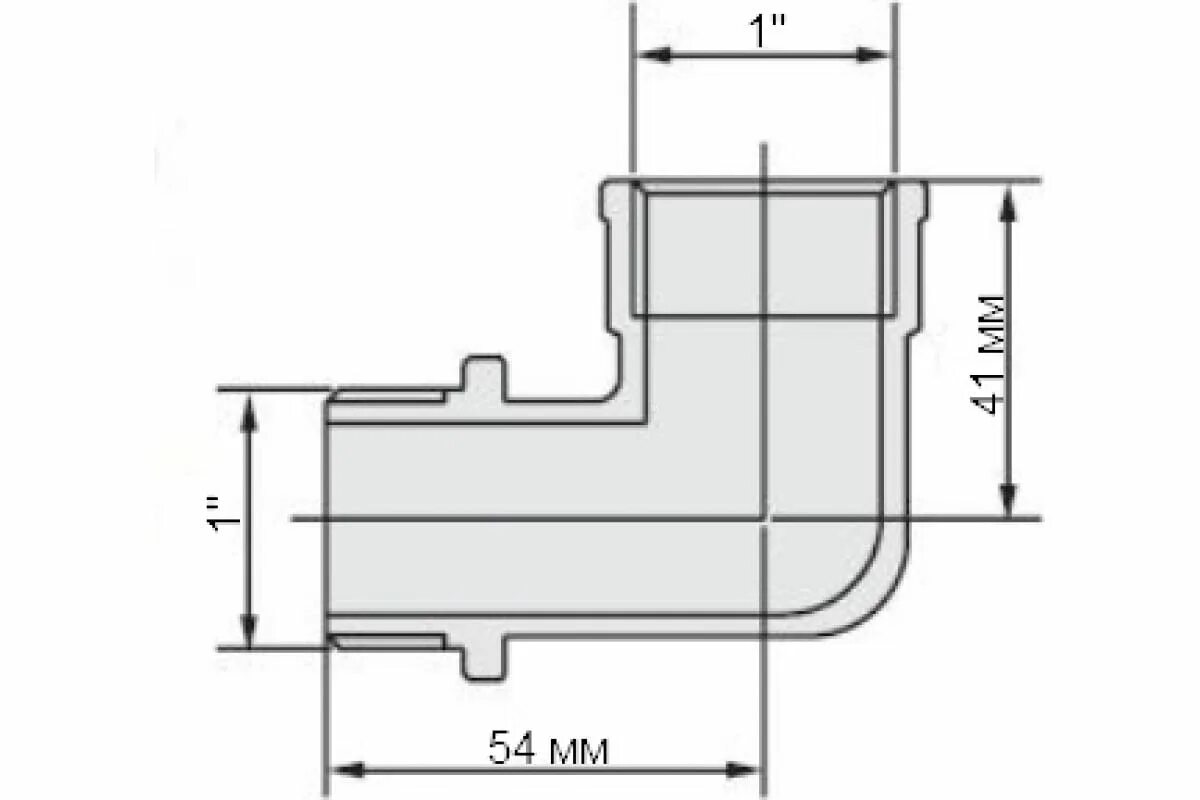
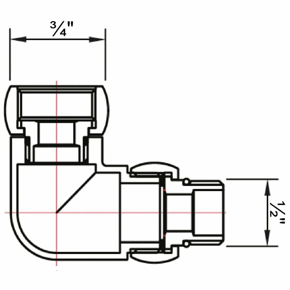
Уголок 1 2 размеры