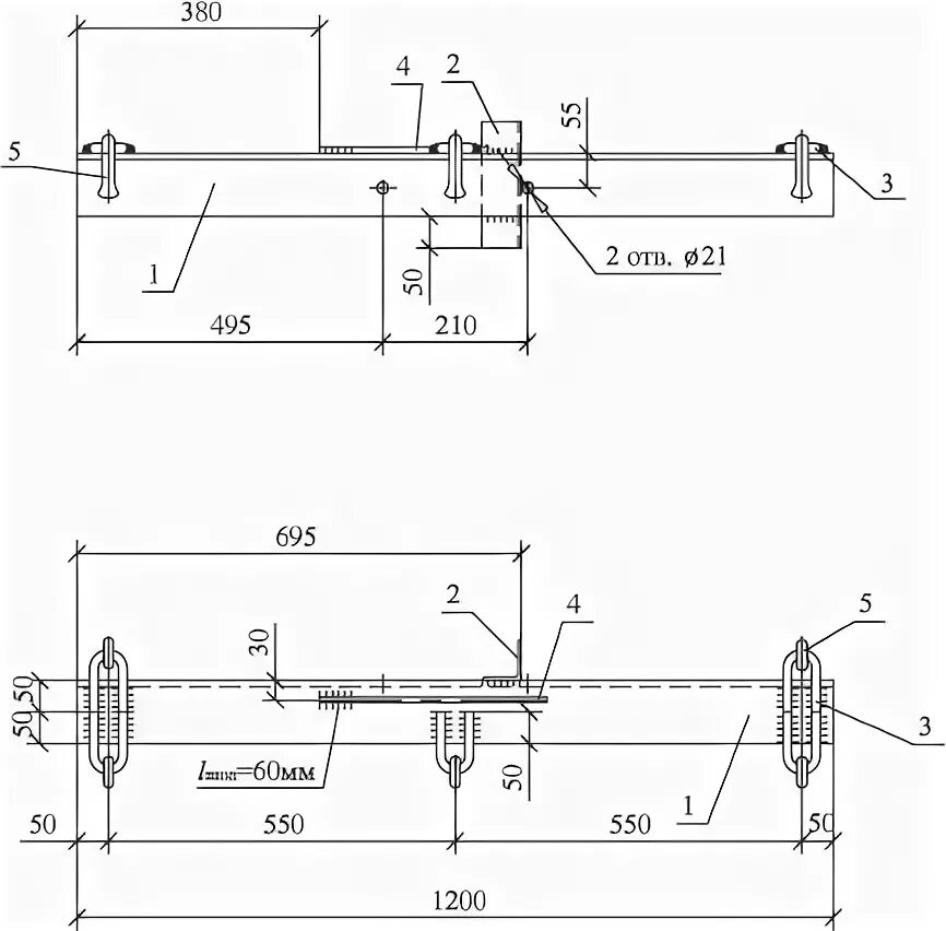
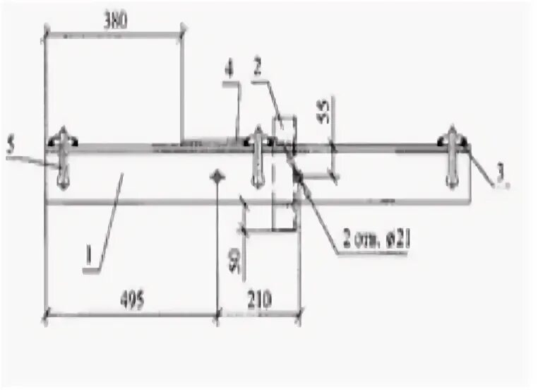
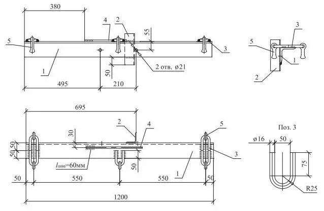
Траверса тм 65