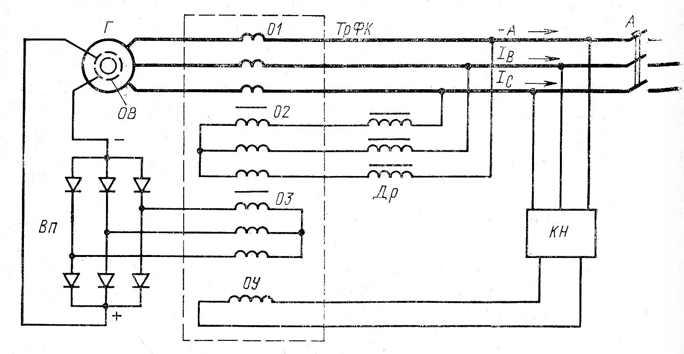
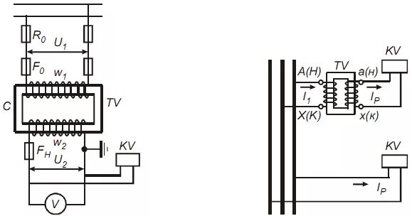
Трансформатор напряжения генератора