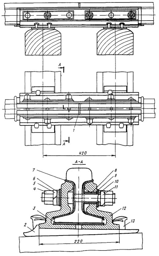
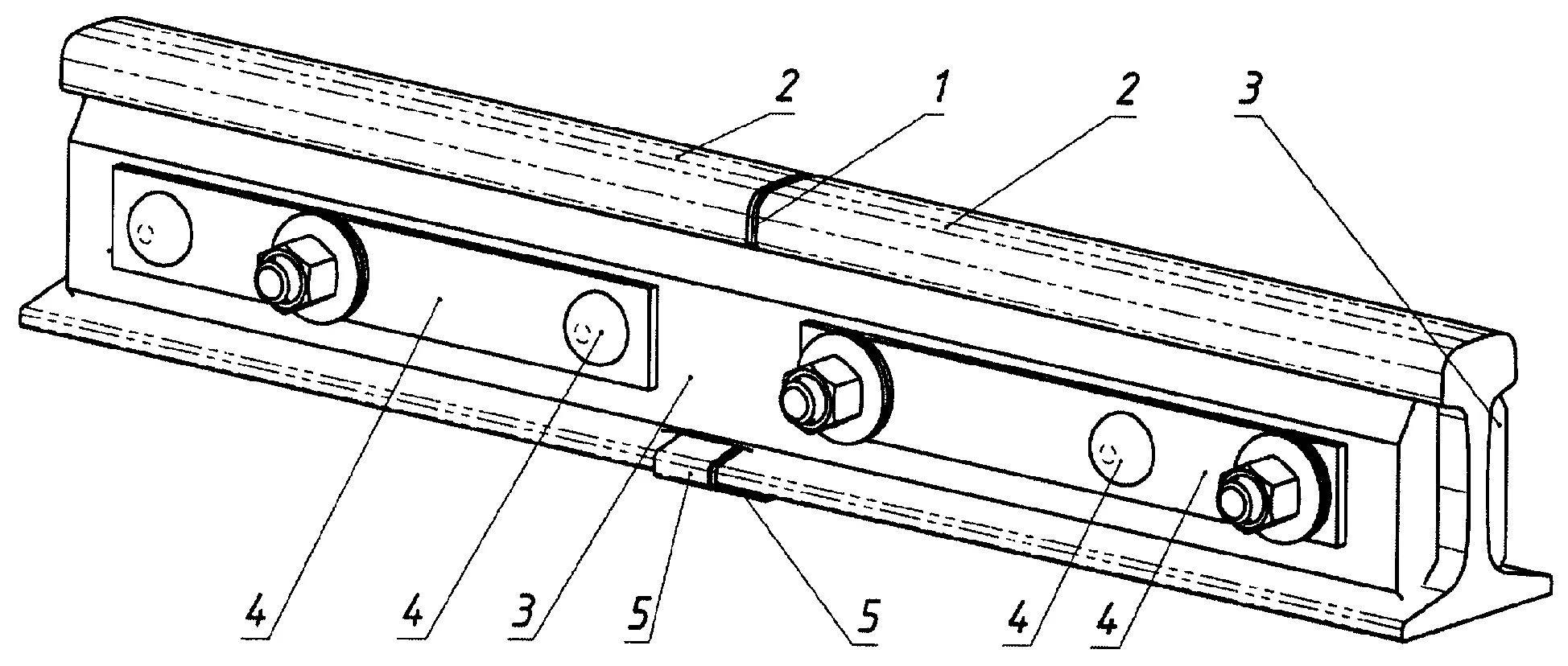
Токопроводящий стык