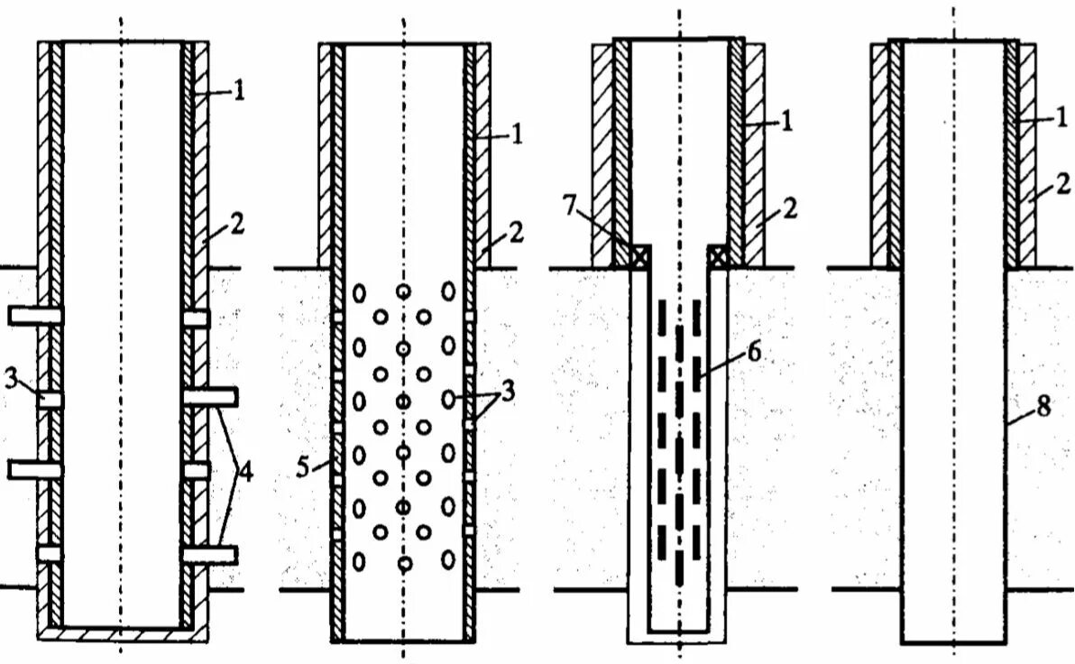
Типы забоев