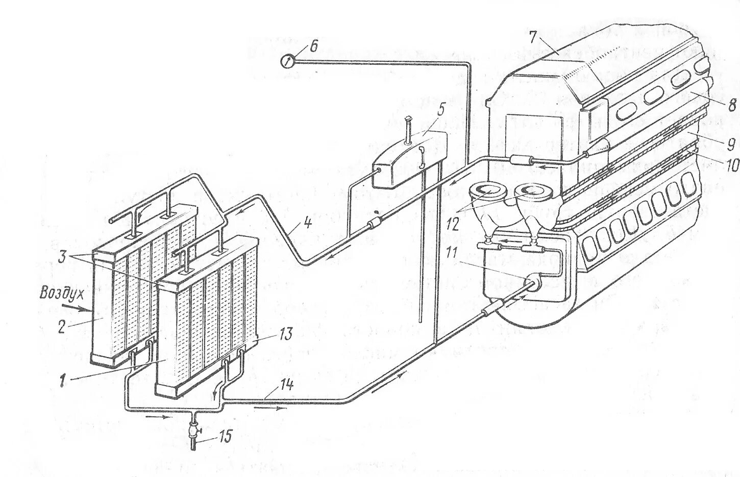
Типы систем охлаждения дизеля