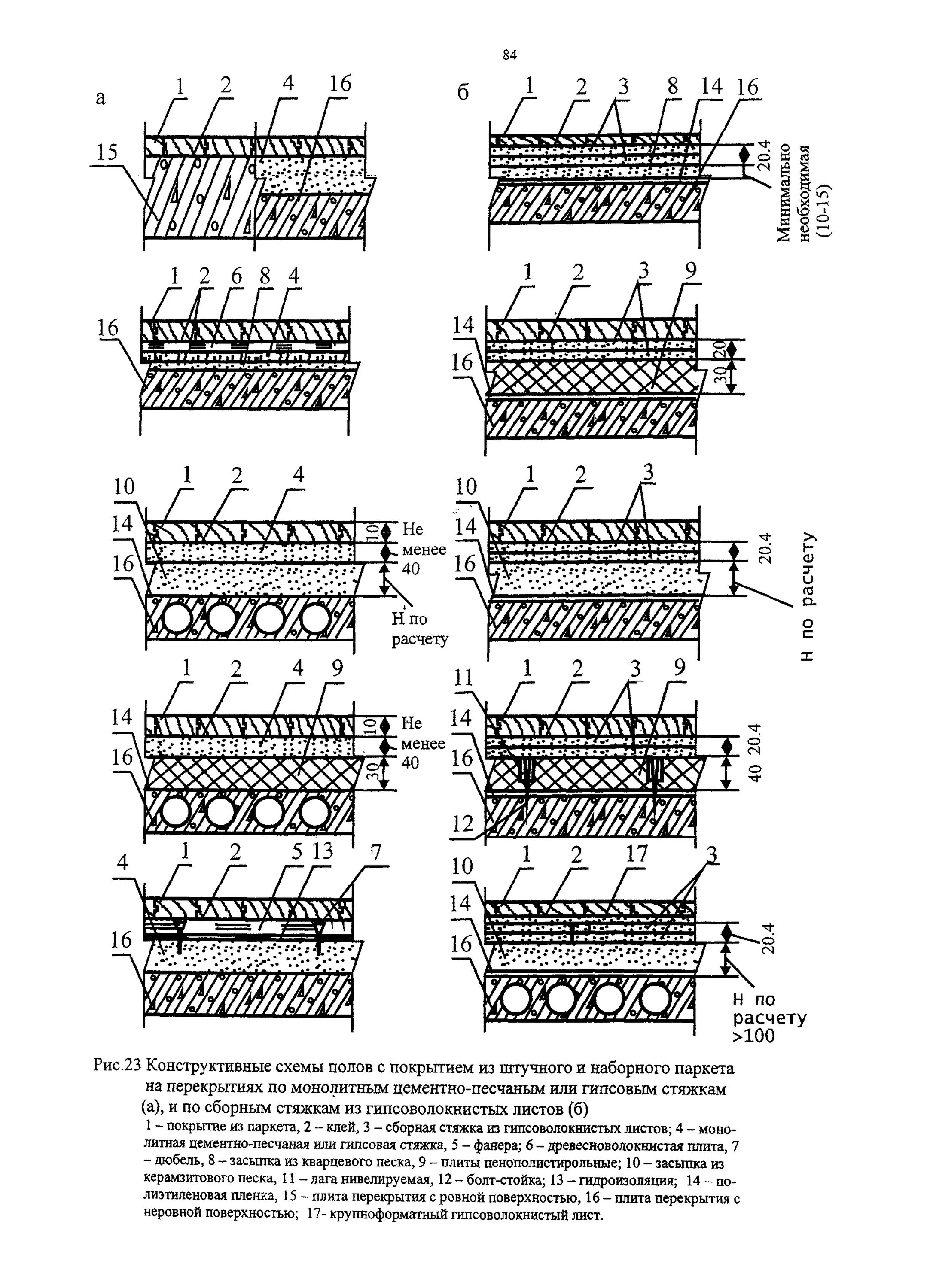
Типы конструкций пола