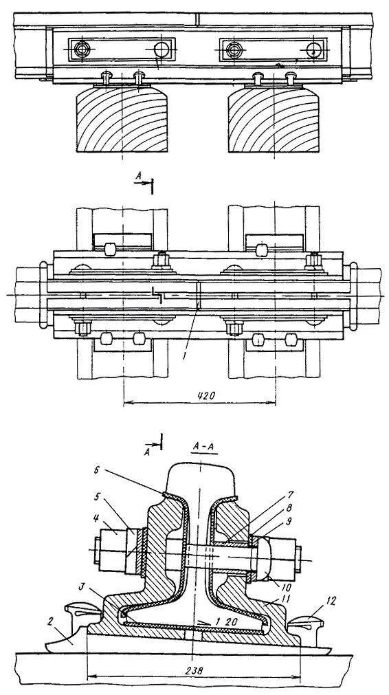
Типы изолированных стыков