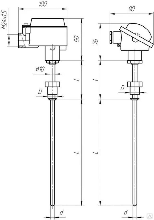
Тип тсм