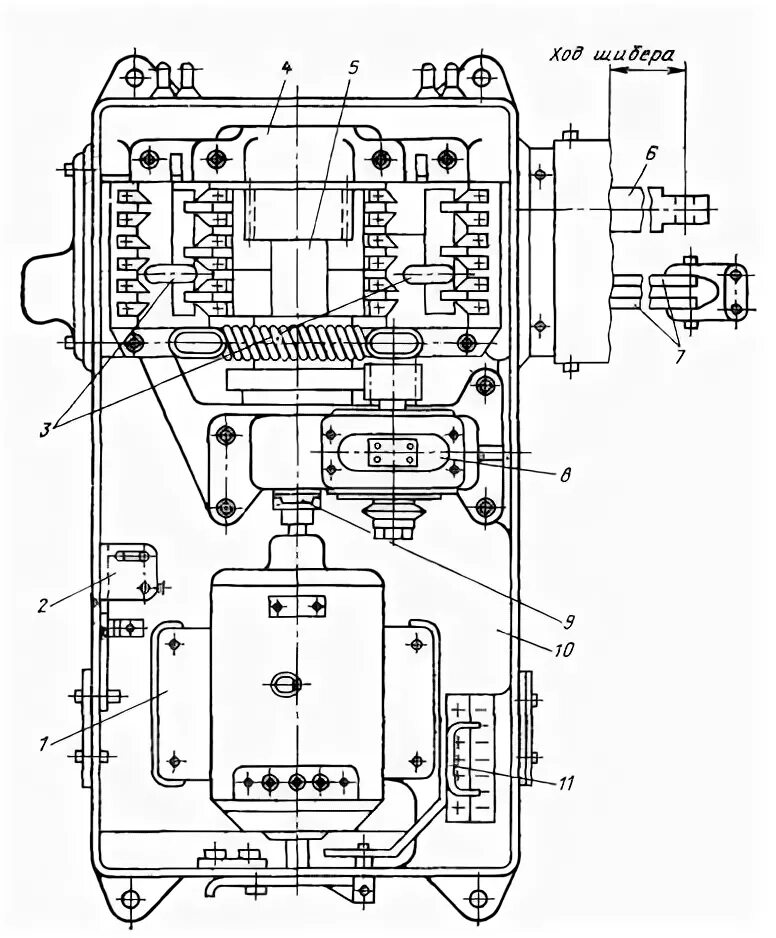
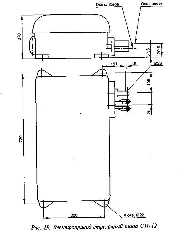
Тип сп 6