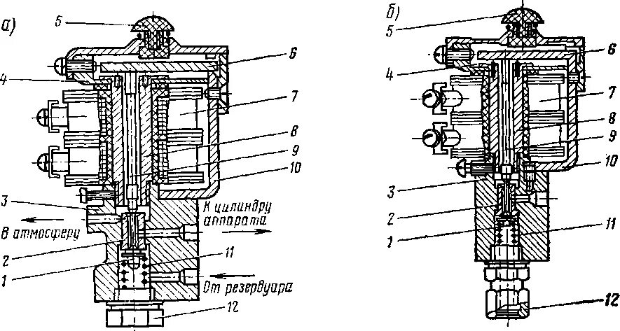
Тип эв