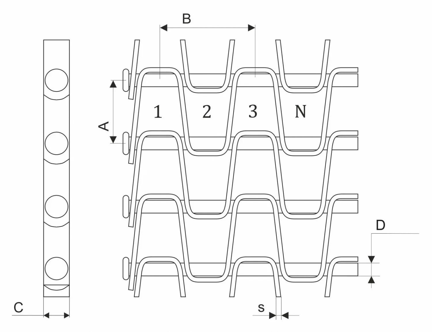
Тип 10.2 no 10016