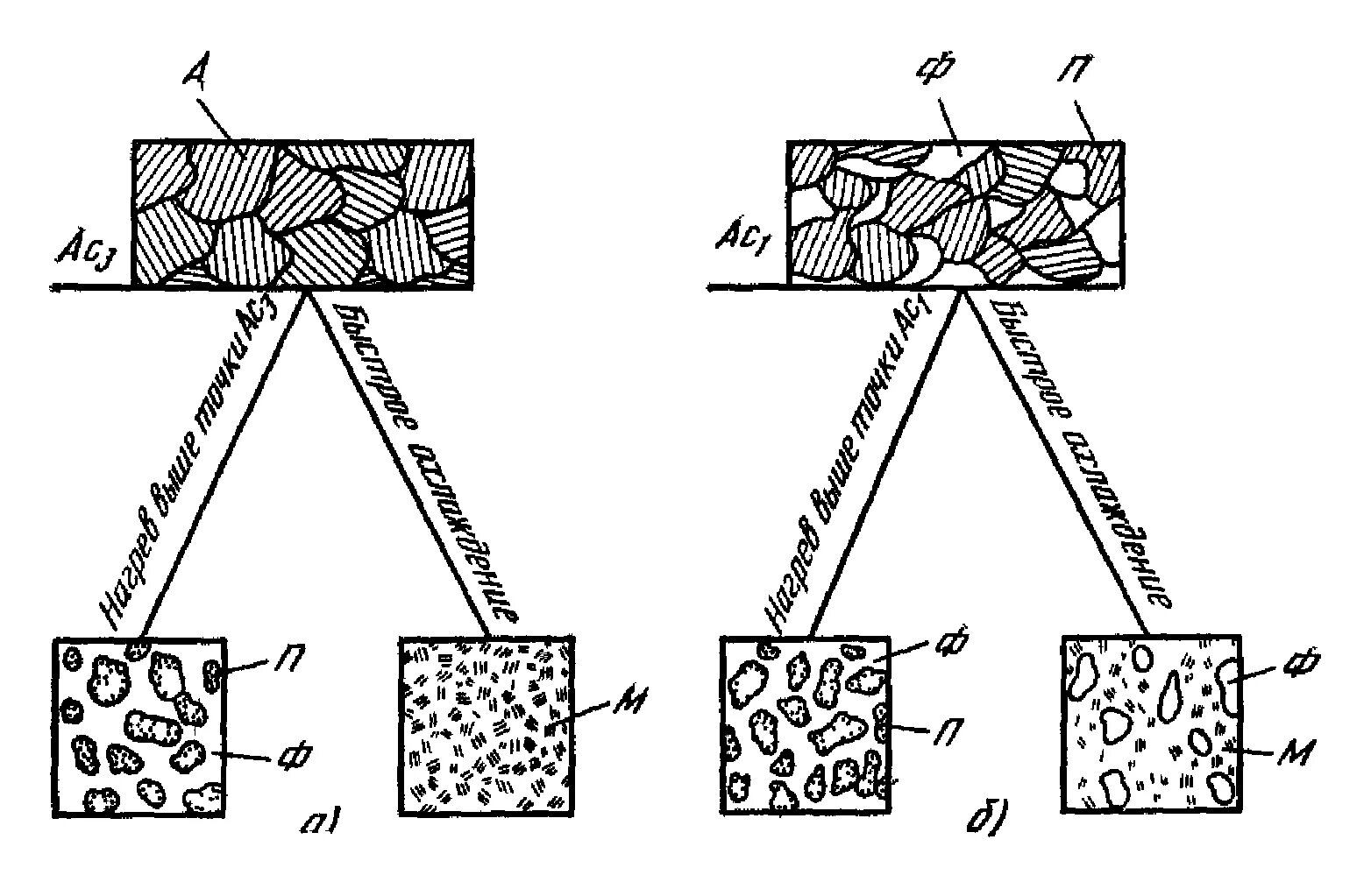
Структурной трансформации