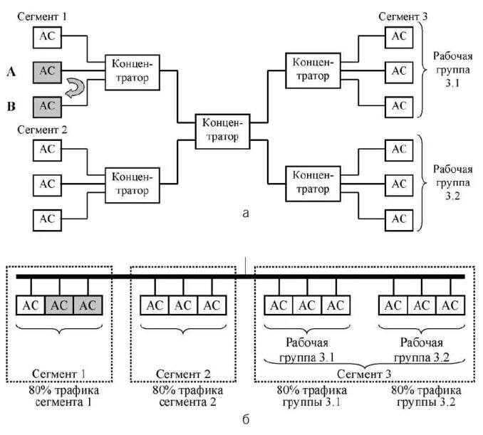
Структура сетей эвм