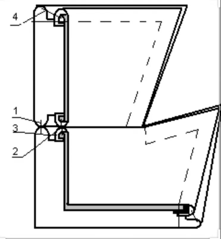
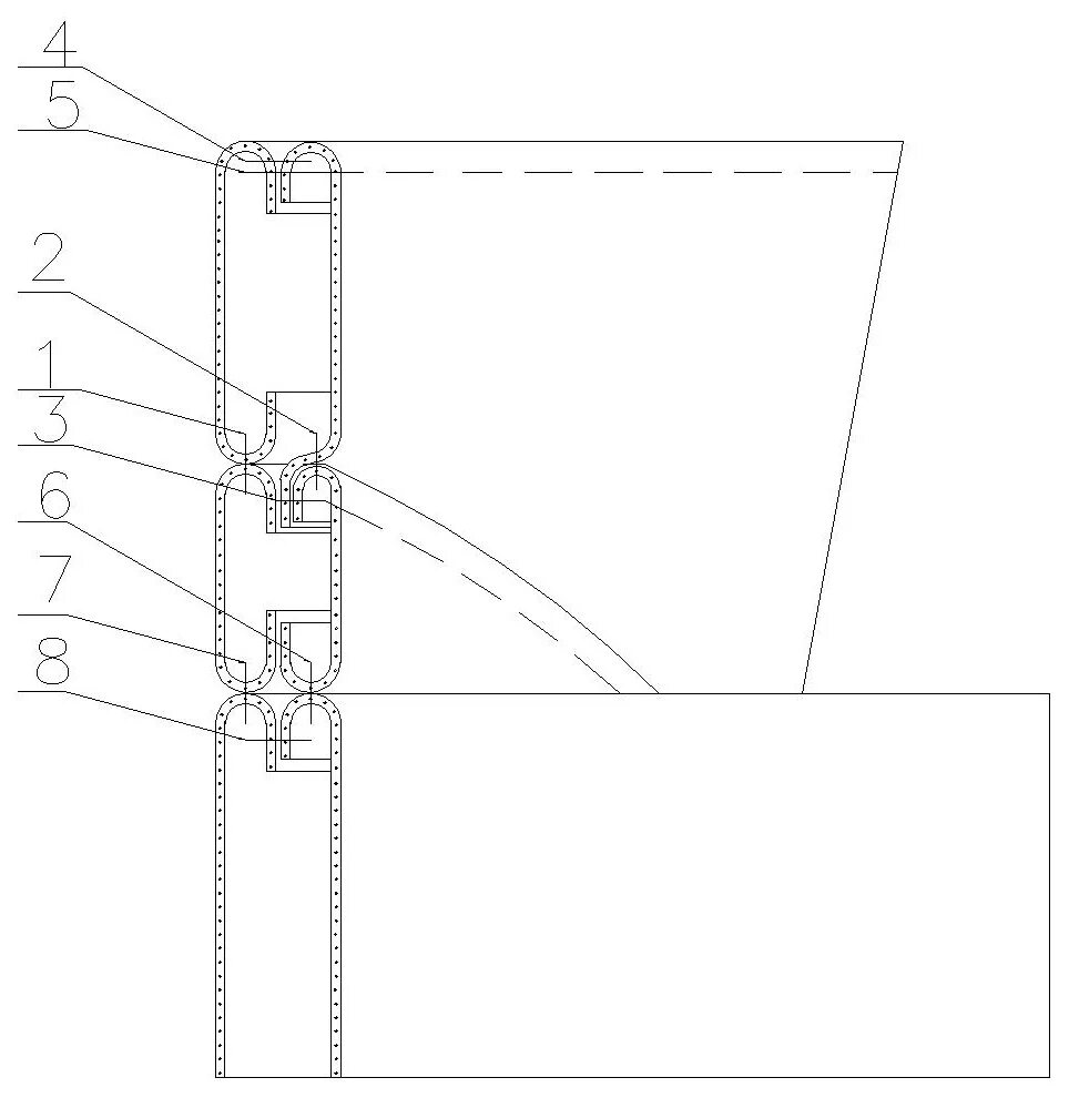
Соединение воротника