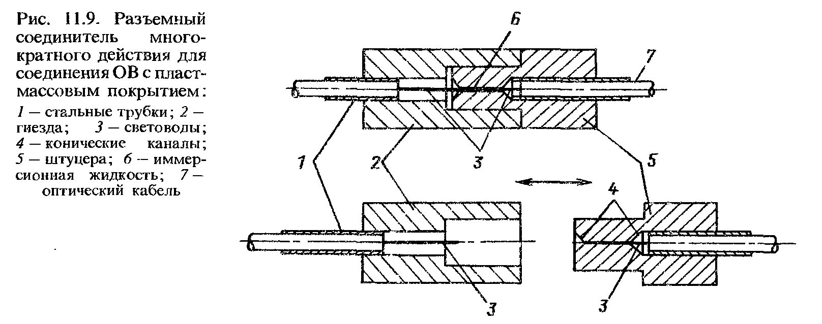
Соединение ов