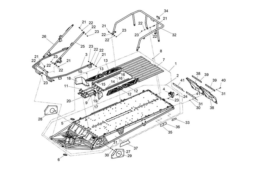
Снегоход стелс 800 запчасти