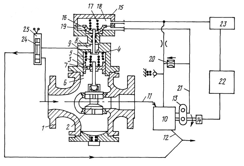
Система регулирования частоты вращения