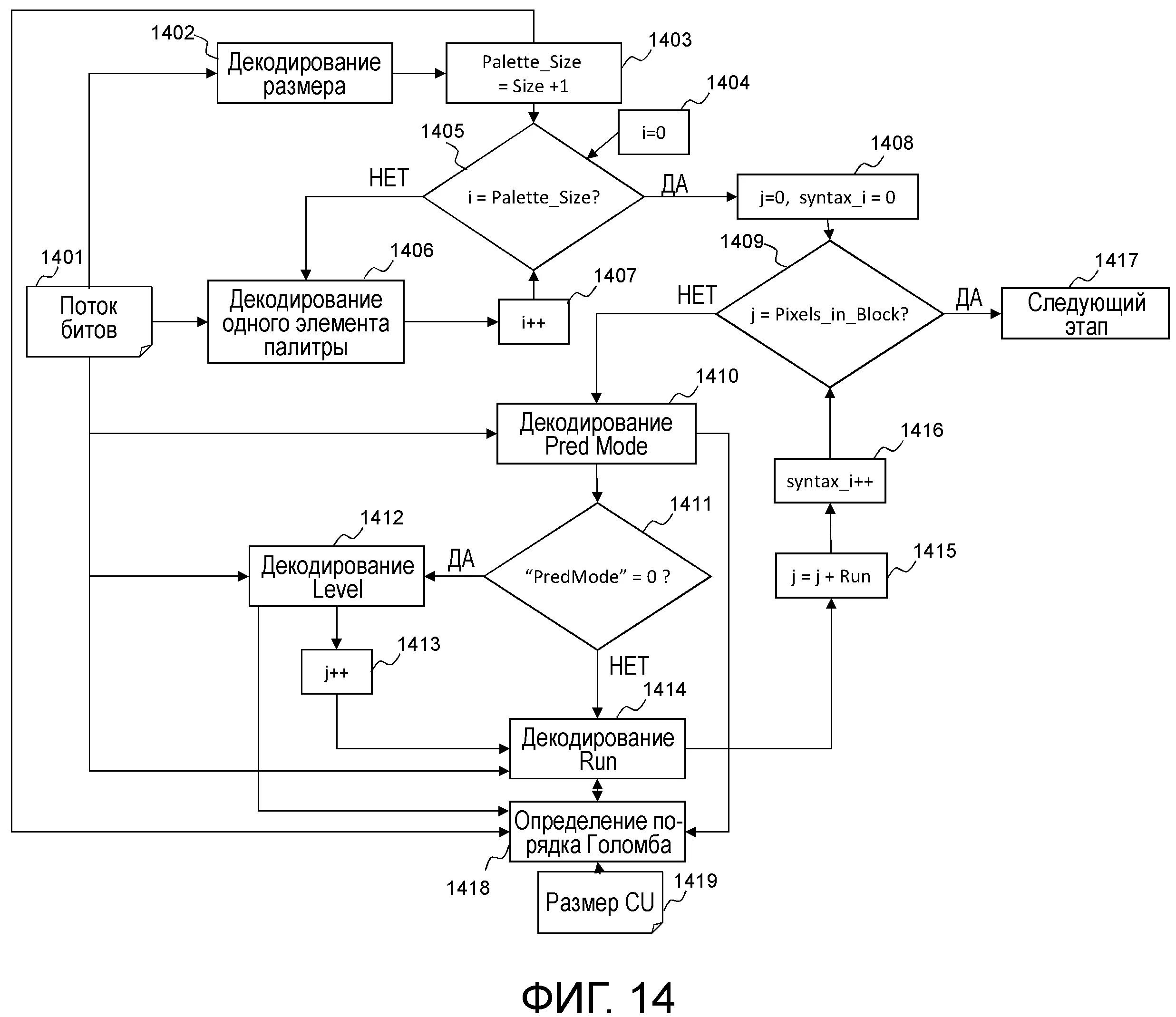
Синтаксис алгоритм