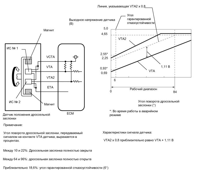
Симптомы неисправности датчика положения дроссельной заслонки