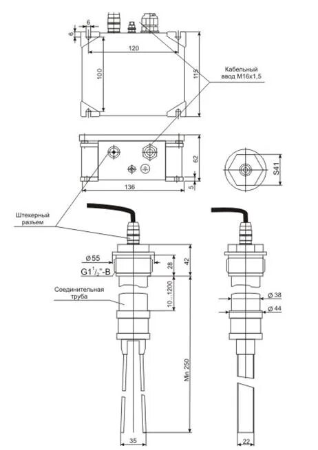
Сигнализатор предельных уровней