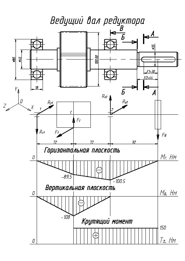
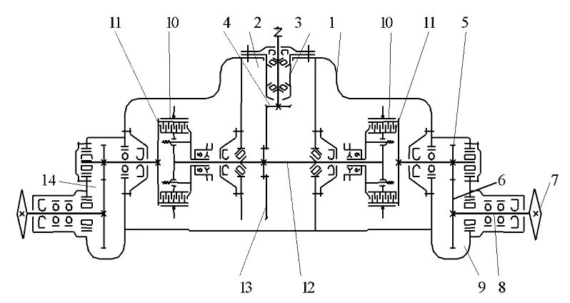
Схема ведущего