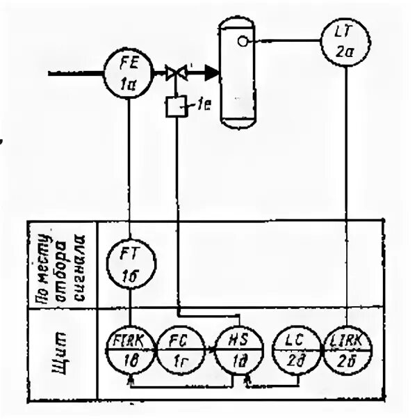
Схема уровня давления