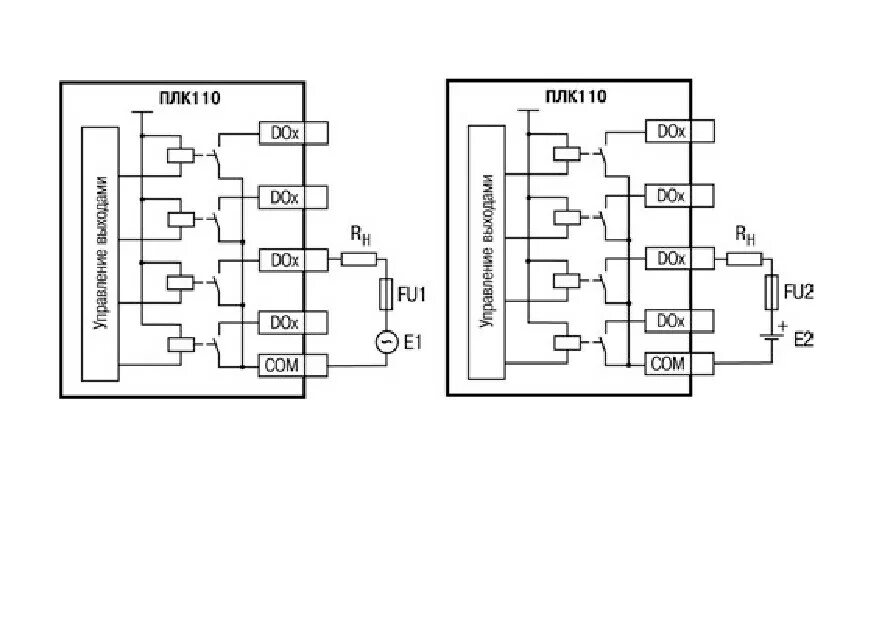
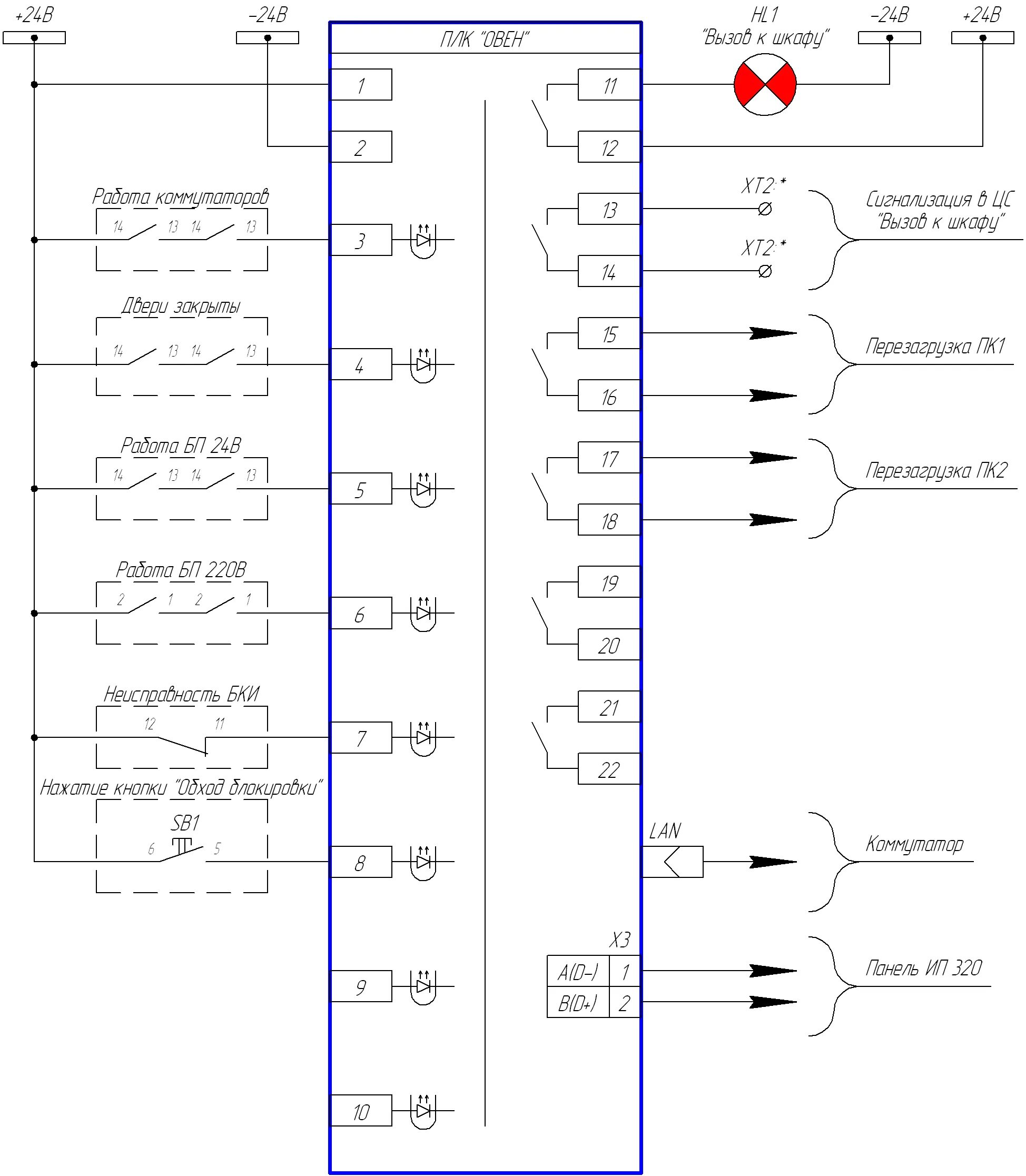
Схема программируемого логического контроллера