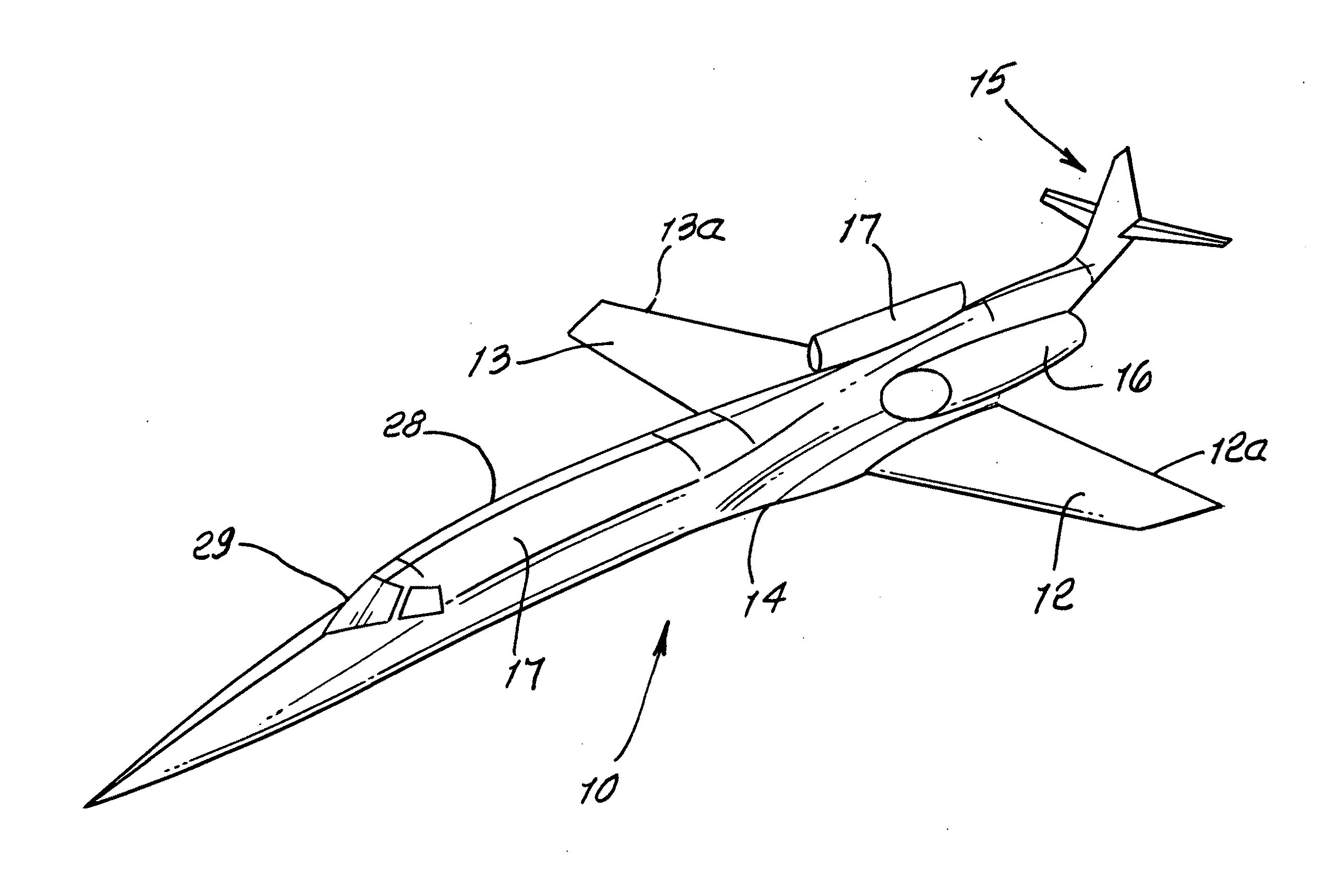
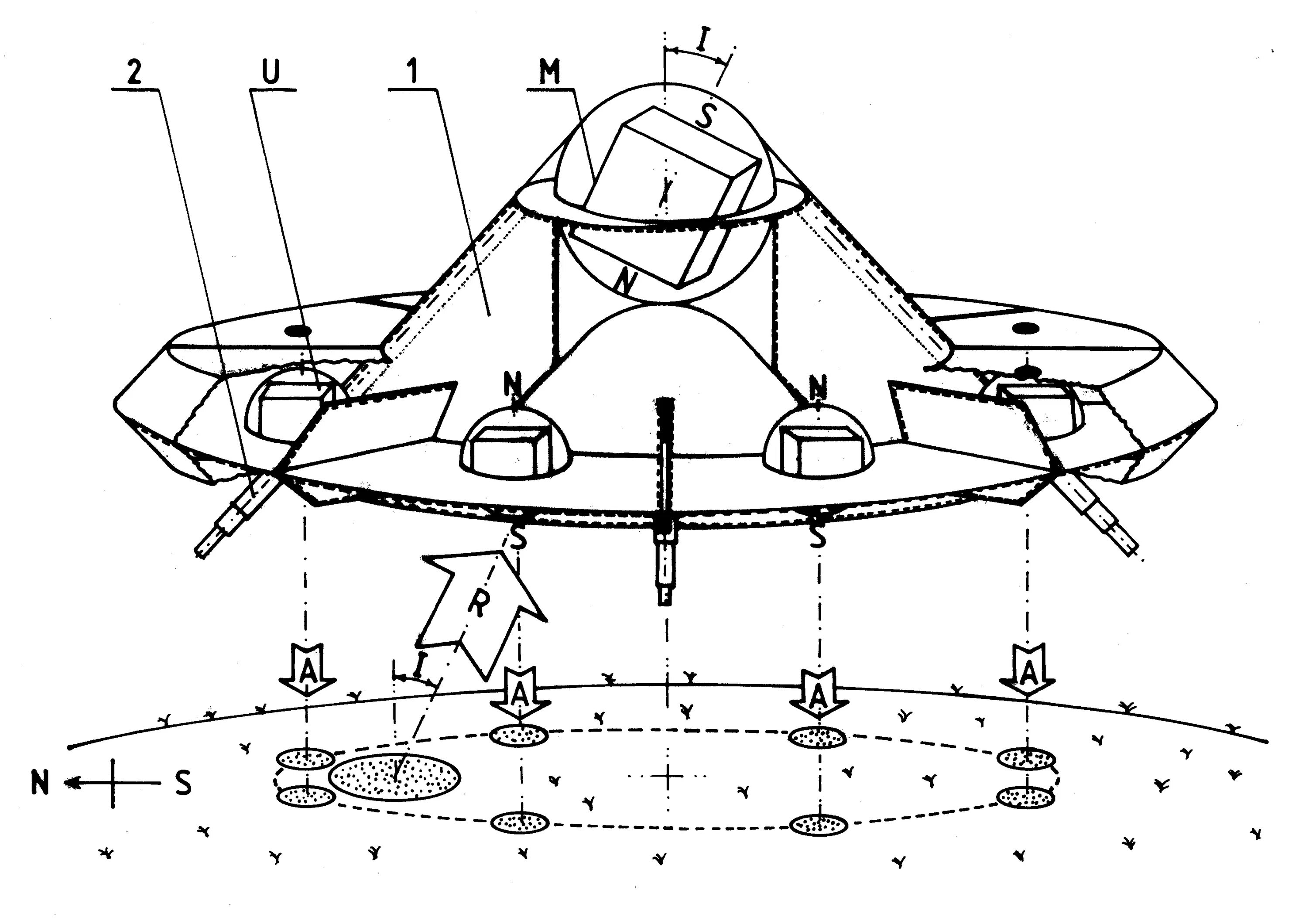
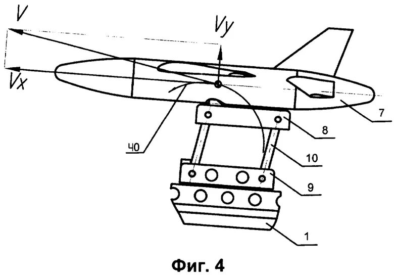
Схема летательного аппарата