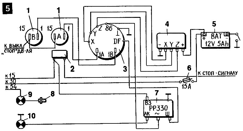
Схема генератора 6 вольт