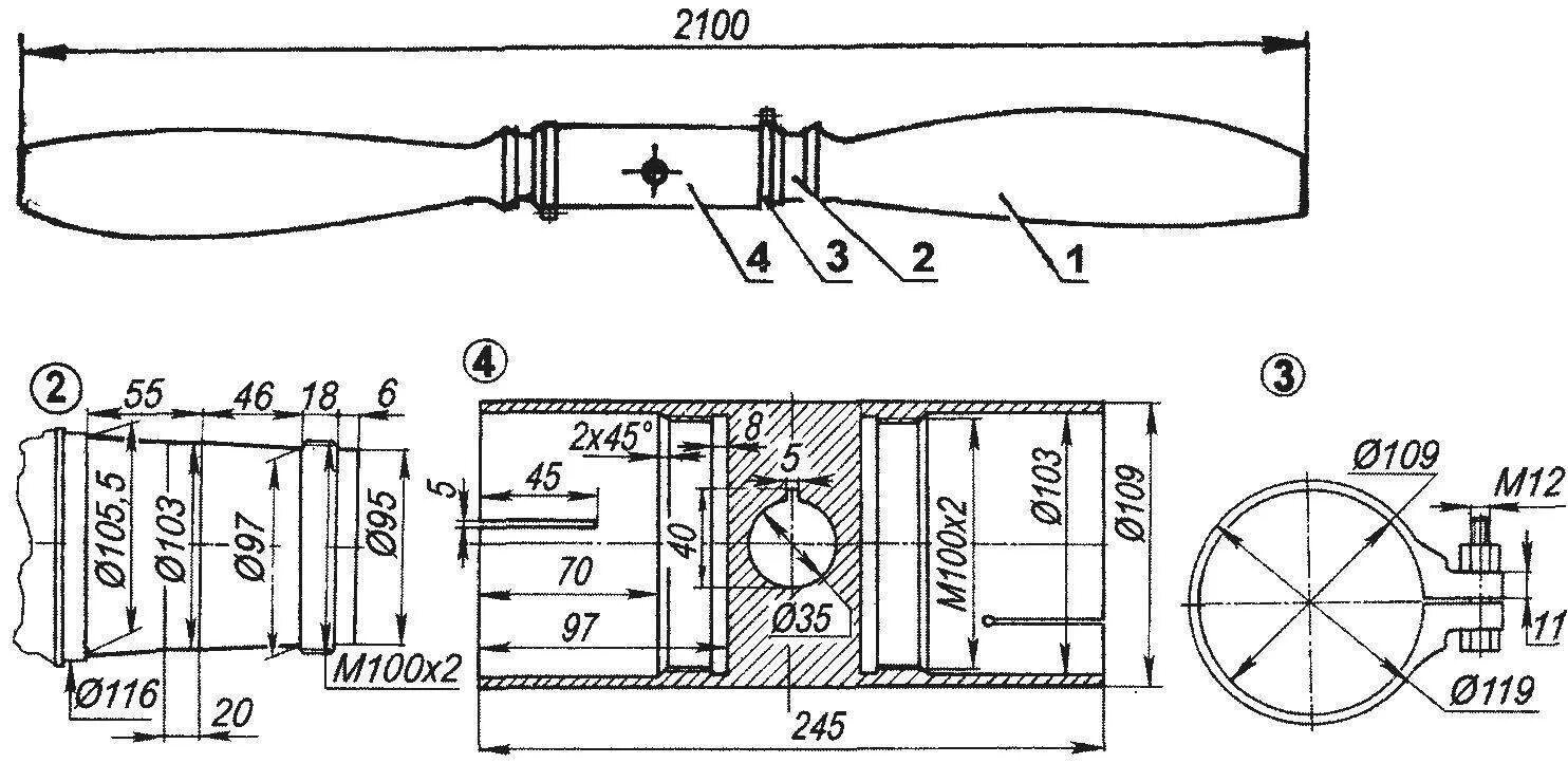
Сделать винт своими руками