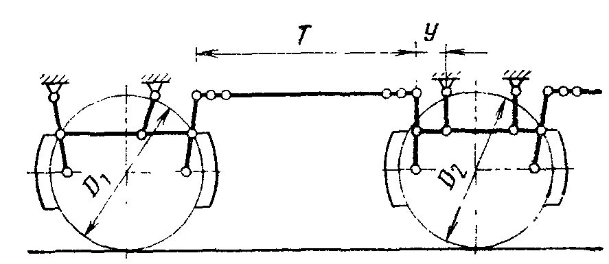
Рычажная передача пассажирских вагонов