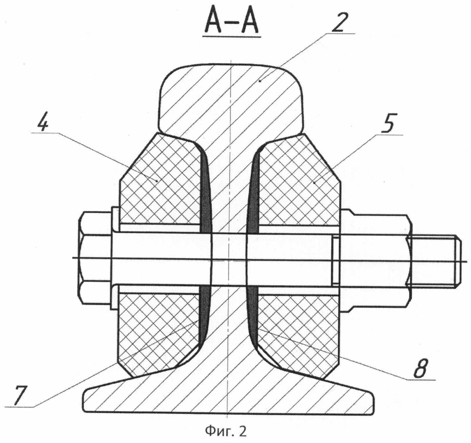
Рельсовые соединители сдо