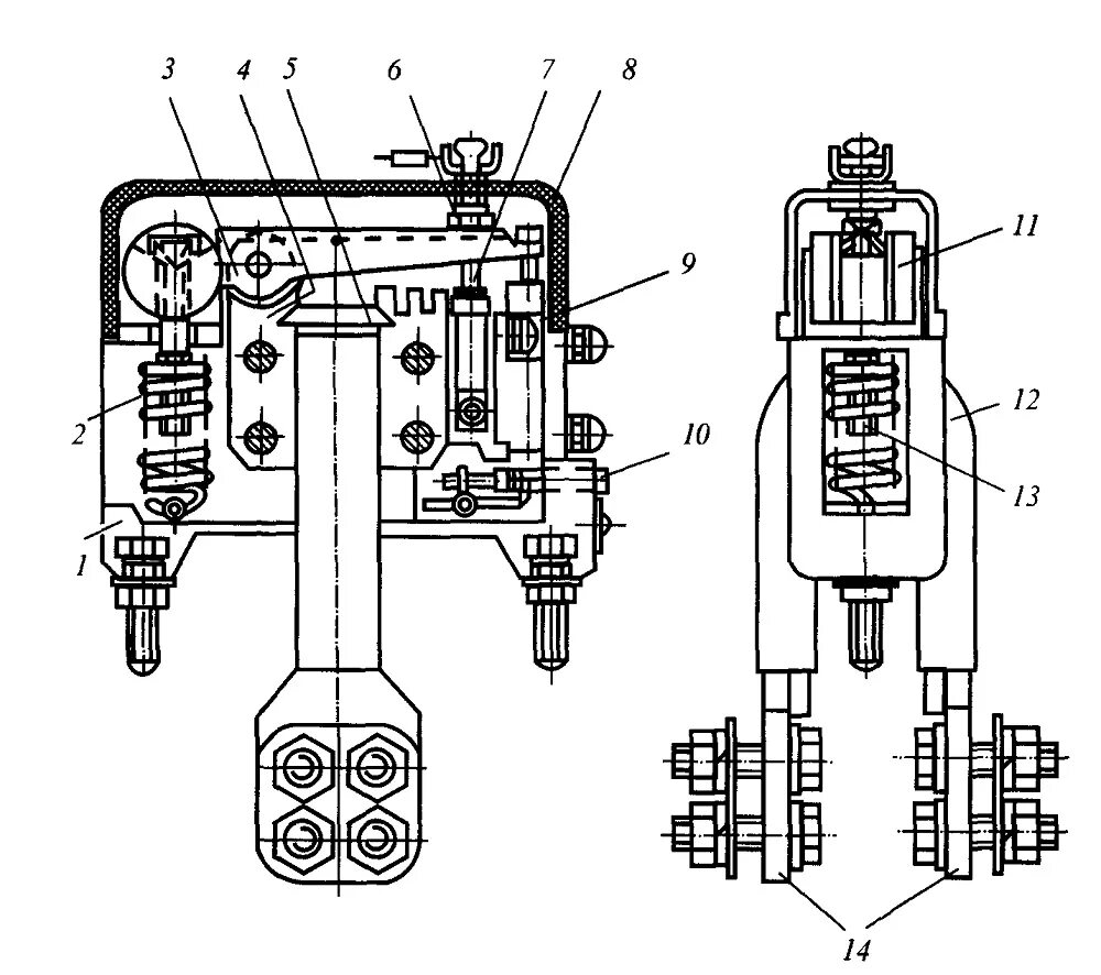
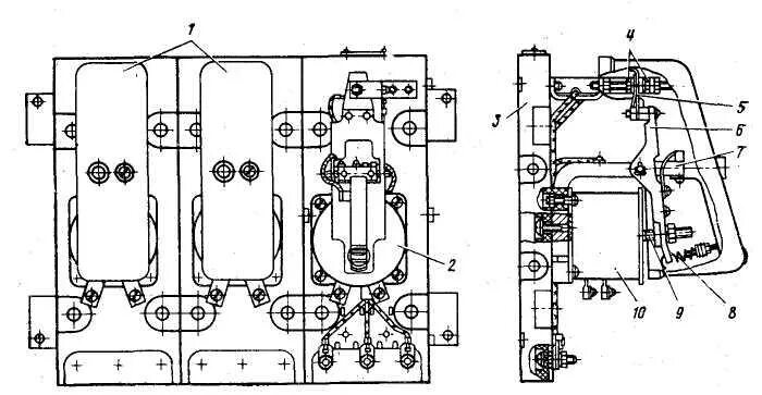
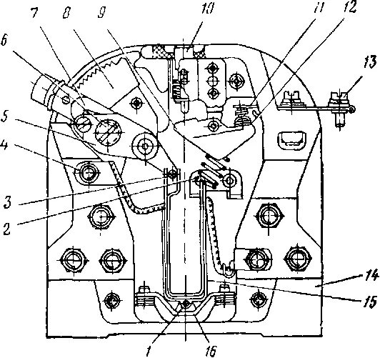
Реле защиты тепловоза