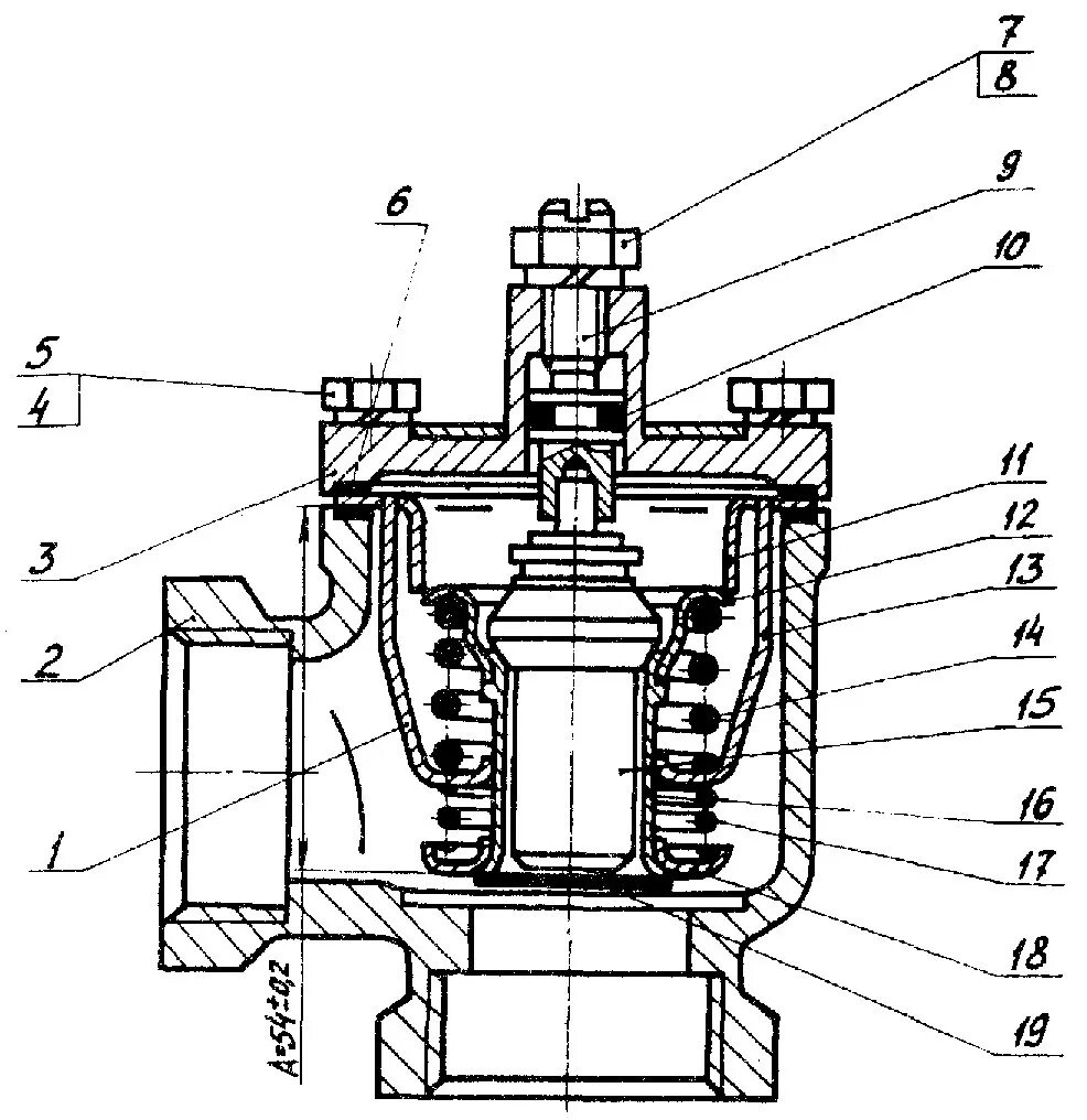
Регулятор состоит из