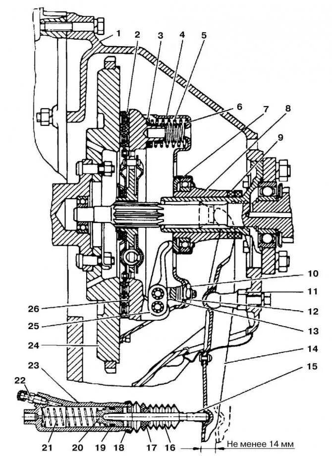
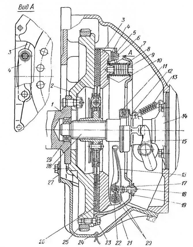
Регулировка дисков сцепления