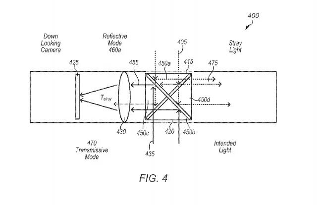
Reflection mode