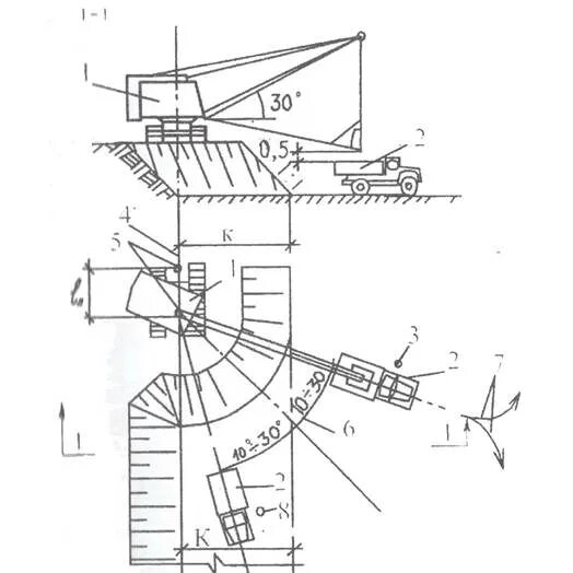
Разработка грунта экскаватором драглайн