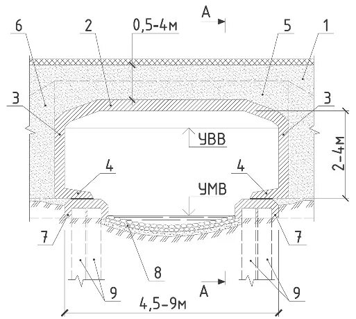
Расчет подземных