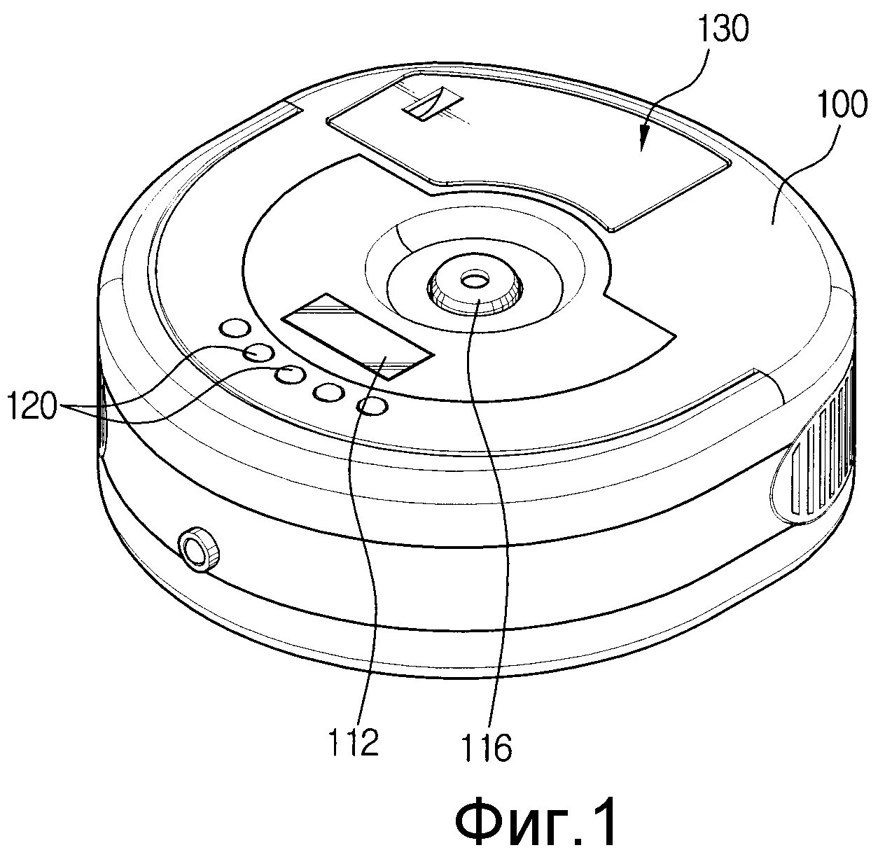
Пылесос не рисует карту