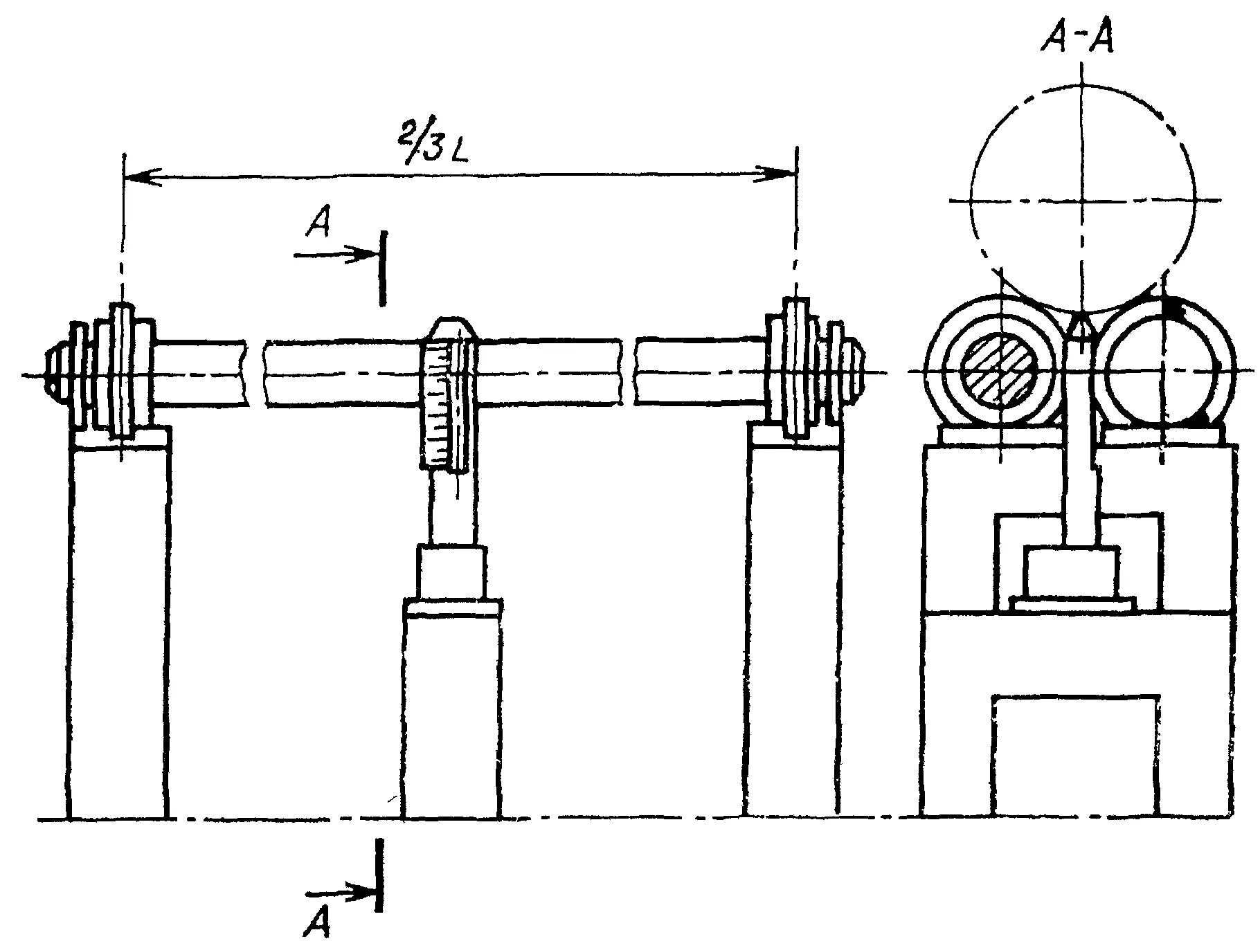
Прямолинейность трубы